14.1.1. 概述

PWMCS,PWM Control System,PWM控制系统有PWM、CAP和QEP三个子系统组成。PWM子系统用于产生PWM控制信号,CAP模块用于捕捉输入信号或产生简易PWM信号,QEP用于接收增量编码器的信号测量速度。

PWM模块具有6x PWM子模块(PWM_S0/1/2/3/4/5),CAP模块具有3x CAP子模块(CAP_S0/1/2),QEP子系统具有2xQEP子模块(QEP_S0/S1)。

14.1.1.1. 特性说明

  1. PWM子模块(PWM_S0/1/2/3/4/5)Feature

    • 16比特的PWM计数器

    • 支持递增、递减以及先递增后递减的计数方式

    • 计数器支持同步输入信号以及同步输出信号

    • PWM输出脉宽可调节

    • 每个子模块均支持两路的PWM输出

    • 支持软件强制控制PWM输出

    • 支持死区时间控制

    • 支持6路的故障指示输入

    • 支持不可恢复以及可恢复的两种PWM保护功能响应故障

    • 支持硬件触发ADC采样

    • 支持中断信号

  2. CAP子模块(CAP_S0/1/2)Feature

    • 每个子模块支持1x 捕获输入信号或1x 简易PWM输出信号

    • 32比特的CAP计数器

    • 支持4x捕获寄存器

    • 可支持连续的捕获模式或单次的捕获模式

    • 支持简易的PWM模式

    • PWM模式下支持相位的同步

  3. QEP子模块(QEP_S0/1)Feature

    • 具有32比特的位置计数器、32比特的定时器、32比特的看门狗定时器、16比特的QEP捕获寄存器

    • 支持正交信号的解码

    • 支持位置计数器的锁存

    • 支持时间计数器的锁存

    • 支持两种测速的模式

14.1.1.2. 原理框图

../../../_images/PWMCSblock.png

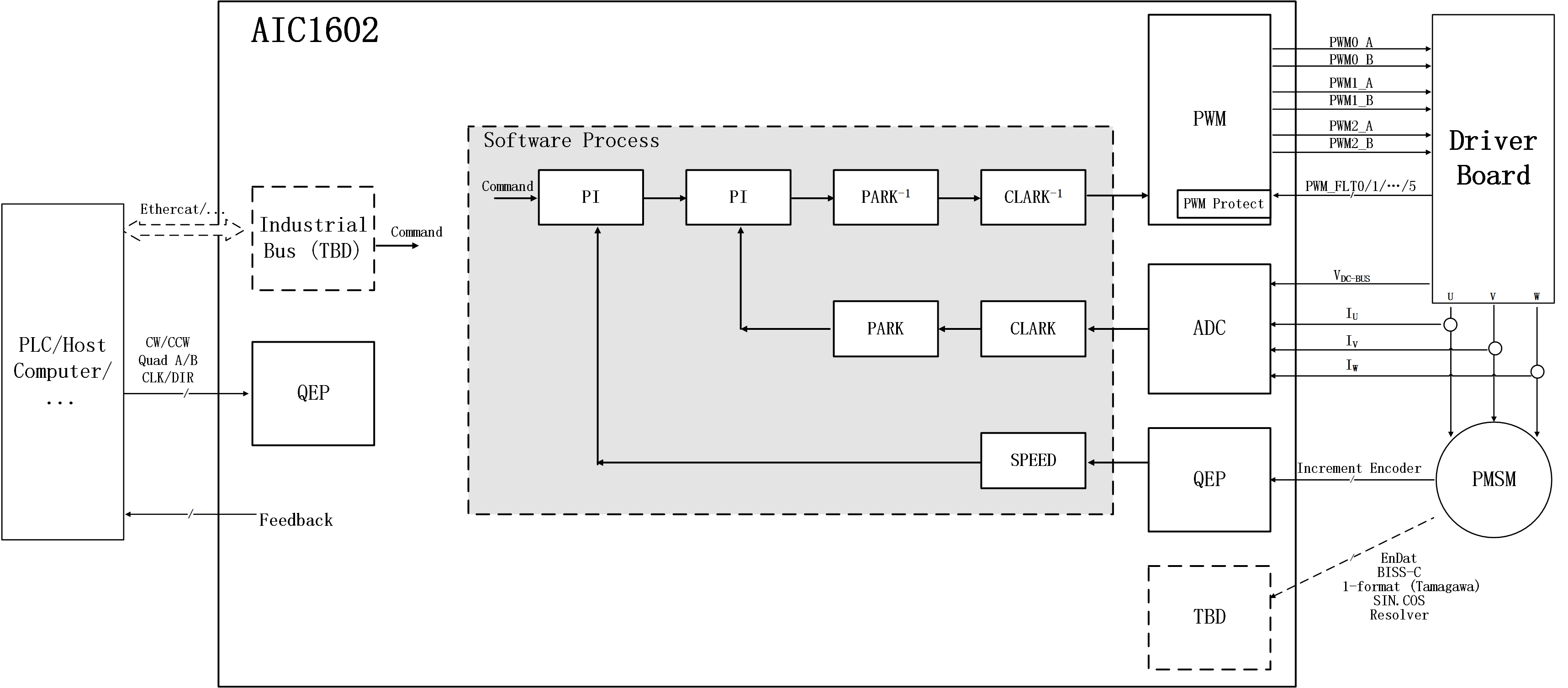
14.1.1.3. 伺服原理框图

../../../_images/PWMCSblock1.png