AIC文档中心
产品简介
快速入门
数据手册
芯片手册
1. 文档说明
2. 产品描述
3. 地址映射
4. 引脚复用
5. 处理器和总线
6. 安全
7. 启动
8. 时钟和电源
9. 存储
10. 多媒体
11. 计时器
12. 接口
12.1. USB Device (USBDEV)
12.2. USB Host (USBHOST)
12.3. Media Access Control (MAC)
12.4. Quad Serial Peripheral Interface (QSPI)
12.5. Universal Asynchronous Receiver/Transmitter (UART)
12.6. Inter Integrated Circuit (I2C)
12.7. Controller Area Network (CAN)
12.8. Consumer Infrared Radiation (CIR)
12.8.1. 概述
12.8.2. 功能描述
12.8.3. 编程指南
12.8.4. 寄存器定义
12.9. Parallel Bus (PBUS)
12.10. General Purpose Input Output (GPIO)
13. 模拟
14. 伺服系统
15. 验证
硬件指南
Linux SDK
RTOS SDK
Baremetal
工具指南
三方应用
关于我们
AIC文档中心
»
芯片手册
»
12.
接口
»
12.8.
CIR
»
12.8.3.
编程指南
12.8.3.
编程指南
¶
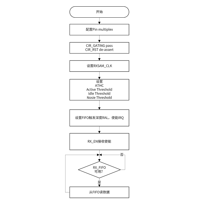
图 12.64
CIR接收器编程指南
¶
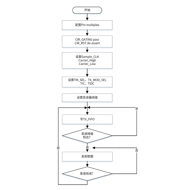
图 12.65
CIR发送器编程指南
¶