8.2.1. 概述

SYSCFG(System Config)模块为系统域以及模块顶层提供基础配置, 如LDO,SRAM,PRS,USB模式选择等。

8.2.1.1. 特性说明

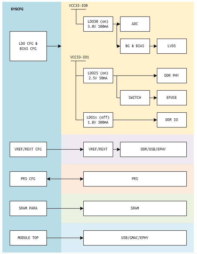
  • 内置LDO30,用于系统模拟及GPADC/PSADC/Audio ADC供电

  • 内置LDO25,用于DDR PHY和EFUSE供电

  • 内置LDO1x,用于DDR IO和合封DDR颗粒供电

  • 提供BIAS电流到LVDS等模块

  • 提供VREF电压到DDR PHY和合封DDR颗粒使用

  • 提供REXT电阻到DDR PHY和合封DDR颗粒使用

  • 提供REXT电阻到USB PHY使用

  • 提供REXT电阻到合封EPHY使用

  • 提供PRS用于检测当前芯片的速度

  • 提供参数配置到SRAM,包含CPU/DDR等模块

  • 模块顶层控制USB/GMAC/EPHY/DDR等

  • 调试信息输出配置

8.2.1.2. 原理框图

../../../_images/syscfg_overview_block.png